船舶锚链记数装置的原理主要基于机械传动、电信号检测或光电传感等技术,通过实时监测锚链的长度变化或位移量,实现对锚链放出或回收长度的精确计量,其核心目标是解决传统人工计数效率低、误差大、安全性差等问题,为船舶操纵、锚泊定位及应急操作提供可靠的数据支持,以下从工作原理、技术类型、核心组件及误差控制等方面展开详细说明。
机械式锚链记数装置原理
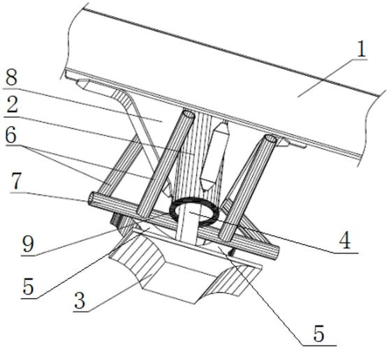
机械式是早期船舶广泛应用的计数方式,主要利用机械传动机构将锚链的直线运动转化为旋转运动,通过齿轮组或滚轮的转数换算成长度,其核心组件包括计数轮、传动齿轮、机械计数器及固定支架。

当锚链通过锚链筒时,与计数轮(通常为带齿的滚轮)紧密接触,锚链的移动带动计数轮旋转,计数轮的周长与锚链直径存在固定比例关系(若锚链直径为d,计数轮周长为L,则每转一圈对应的锚链长度为L),通过齿轮组将计数轮的转速传递至机械计数器(如数字式滚轮计数器或指针式表盘),计数器累计显示的转数乘以比例系数,即可得到锚链放出或回收的总长度。
此类装置的优点是结构简单、抗电磁干扰能力强,但缺点也较为明显:机械部件易磨损(尤其在恶劣海况下),长期使用后计数轮与锚链的摩擦可能导致打滑,产生误差;且无法实现数据远程传输,需人工现场读数。
电子式锚链记数装置原理
电子式计数装置通过传感器将锚链的机械位移转化为电信号,再经电路处理实现计数,是目前船舶的主流配置,根据传感器类型不同,可分为以下几种技术路径:
旋转编码器式
旋转编码器(如增量式或绝对式编码器)安装在锚链轮或计数轮的转轴上,通过检测锚链运动引起的转轴角位移,输出脉冲信号,编码器的每转脉冲数(PPR)与计数轮周长预先标定,控制器通过统计脉冲数量即可计算锚链长度,若编码器PPR为1000,计数轮周长为1米,则每10个脉冲对应锚链移动1厘米。

此类装置的优点是精度高(可达厘米级)、响应快,且支持数据数字化输出,便于接入船舶自动化系统,但需考虑编码器的防护等级(需防海水腐蚀、粉尘)及抗振动能力,避免海浪冲击导致信号失真。
电磁感应式
在锚链链环上嵌入或安装磁性标记(如永磁体),在锚链通道旁安装电磁感应传感器(如霍尔传感器),当带有磁性标记的链环通过传感器时,磁场变化产生感应电信号,控制器通过检测信号出现的频率计算锚链移动速度和累计长度。
其关键在于磁性标记的间距标定(每5个链环设置一个标记),传感器通过标记数量换算长度,优点是对锚链表面状态要求较低(无需与计数轮紧密接触),适用于大直径锚链;但需避免强磁场干扰,防止误触发。
光电传感器式
在锚链通道两侧分别安装红外发射管和接收管,形成光幕,锚链链环通过时光路被遮挡,接收管输出电平变化,控制器通过统计遮挡次数计算长度,链环的尺寸(如长度、间距)需预先输入系统,每次遮挡对应固定的链环数量(如每个链环长0.25米,则每遮挡一次计0.25米)。

此类装置的优点是无机械磨损、寿命长,但易受粉尘、油污影响,需定期清洁光路;且在锚链晃动剧烈时,可能因遮挡不稳定导致信号误判,需配合滤波算法优化。
智能化锚链记数装置原理
现代船舶多采用智能化计数系统,融合多种传感器及数据处理算法,实现高精度、自适应计数,其核心原理包括:
多传感器融合
为克服单一传感器的局限性,系统通常集成编码器、电磁感应及光电传感器,通过数据融合算法(如卡尔曼滤波)对多源信号加权处理,剔除异常值(如锚链突然卡顿、传感器抖动),提高数据可靠性,当编码器信号因打滑异常时,可优先采用电磁感应信号作为修正依据。
速度与加速度补偿
锚链在放出或回收过程中,速度并非恒定(如自由抛锚时加速,刹车时减速),系统通过实时监测锚链速度(编码器脉冲频率)和加速度(陀螺仪或加速度传感器数据),动态调整计数系数,避免因速度变化导致的累计误差。
自校准与故障诊断
装置内置自校准程序,可在锚链静止时通过零点校准消除初始误差;同时实时监测传感器状态(如信号强度、响应时间),当数据异常时触发报警,提示船员维护,部分系统还支持通过历史数据学习锚链磨损规律,自动修正计数轮周长变化(如因磨损导致周长减小,自动调整比例系数)。
误差控制与影响因素
锚链记数装置的精度受多种因素影响,需通过设计和操作控制误差:
- 机械因素:计数轮与锚链的打滑(需增加摩擦力,如采用聚氨酯材质滚轮)、链环尺寸偏差(需定期标定链环实际长度)。
- 环境因素:海浪导致锚链晃动(通过滤波算法抑制高频噪声)、低温导致传感器灵敏度下降(选用宽温域元件)。
- 安装因素:传感器与锚链通道的对中偏差(需精确安装,确保接触或检测位置稳定)。
下表为不同类型锚链记数装置的性能对比:
| 类型 | 精度 | 抗干扰能力 | 维护需求 | 数据输出 | 适用场景 |
|---|---|---|---|---|---|
| 机械式 | 低(±0.5%) | 高 | 高 | 本地机械显示 | 老旧船舶、辅助系统 |
| 旋转编码器式 | 高(±0.1%) | 中 | 中 | 数字信号远程传输 | 现代船舶、自动化系统 |
| 电磁感应式 | 中(±0.3%) | 中 | 低 | 数字信号 | 大直径锚链、恶劣海况 |
| 光电传感器式 | 中(±0.2%) | 低 | 高 | 数字信号 | 低速平稳锚链操作 |
相关问答FAQs
Q1:船舶锚链记数装置在抛锚过程中突然计数异常,可能的原因及解决方法?
A:可能原因包括:传感器被油污/杂物遮挡(清洁传感器光路或感应区域)、编码器与计数轮连接松动(紧固固定螺栓)、锚链打滑导致编码器信号丢失(调整计数轮摩擦力或检查锚链张力),解决方法:首先切换至备用传感器(若有),若仍异常,停机检查机械部件,并重新标定计数参数。
Q2:如何通过锚链记数装置判断船舶是否发生走锚?
A:走锚时,锚链张力会突然减小,同时锚链长度可能因船舶漂移而被动增加,装置可通过以下信号判断:锚链张力传感器(若集成)显示张力降至设定阈值以下;编码器检测到锚链无主动放出但长度持续增加(需结合GPS船舶位置数据综合判断),系统可设置报警阈值,当长度变化与张力不匹配时触发声光报警,提醒船员采取应急措施。
