船舶齿轮箱是船舶动力传动系统的核心部件,主要用于将发动机的动力传递给螺旋桨,同时实现减速、离合、倒顺车等功能,确保船舶在不同工况下的高效、安全运行,其工作原理基于机械传动中的齿轮啮合原理,通过多组齿轮的组合与配合,实现动力的传递与转速的转换。
船舶齿轮箱的基本结构与组成
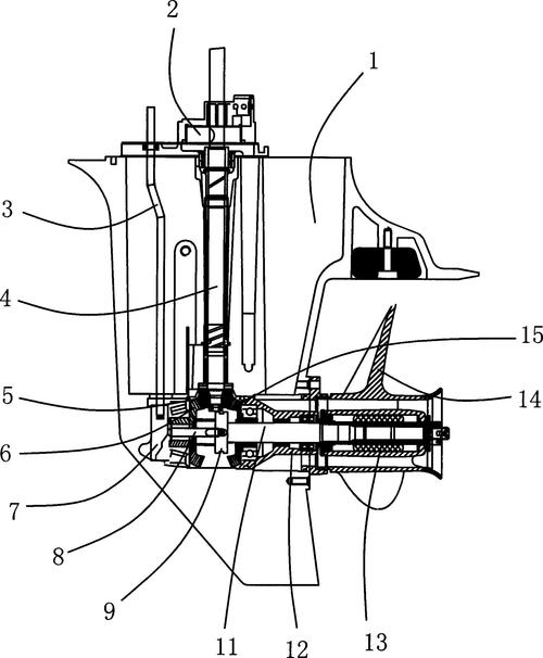
船舶齿轮箱主要由输入轴、输出轴、齿轮传动机构、离合装置、润滑系统、控制系统等部分组成,齿轮传动机构是核心,通常采用定轴齿轮系或行星齿轮系结构;离合装置用于实现动力的接通与切断;润滑系统确保齿轮、轴承等运动部件的正常工作;控制系统则根据操作指令调节齿轮箱的运行状态。

船舶齿轮箱的工作原理
动力传递与减速原理
船舶主发动机(如柴油机、燃气轮机)通常具有较高的转速(一般为几百至几千转/分钟),而螺旋桨的最佳工作转速较低(通常为几百转/分钟以下),齿轮箱通过齿轮啮合实现减速增扭,将发动机的高转速、低扭矩动力转换为低转速、高扭矩动力,驱动螺旋桨产生推力。
以常见的定轴齿轮箱为例,输入轴与发动机相连,输出轴与螺旋轴相连,齿轮传动机构通常包含主动齿轮、从动齿轮和中间齿轮,主动齿轮安装在输入轴上,从动齿轮安装在输出轴上,通过齿轮的齿数比实现减速,减速比的计算公式为:
[ i = \frac{z_2}{z_1} ]
( z_1 ) 为主动齿轮齿数,( z_2 ) 为从动齿轮齿数,主动齿轮齿数为20,从动齿轮齿数为60,则减速比为3,输出转速为输入转速的1/3,扭矩增加3倍(忽略摩擦损失)。
离合与倒顺车原理
船舶需要实现前进、后退和停车功能,这依赖于齿轮箱的离合装置和换向机构。
- 离合装置:通常采用片式摩擦离合器或气动离合器,当需要接通动力时,控制系统使离合器压紧,主动齿轮与输入轴结合,动力传递至齿轮传动机构;切断动力时,离合器分离,动力传递中断。
- 倒顺车机构:通过改变齿轮传动中动力传递的路径实现,常见的结构包括双离合器换向机构和行星齿轮换向机构,以双离合器为例,前进档时,一组离合器接合,动力通过特定齿轮组传递至输出轴,实现螺旋桨正转;倒车档时,另一组离合器接合,动力通过增加中间惰轮的方式改变输出轴旋转方向,实现螺旋桨反转。
润滑与冷却原理
齿轮箱内部齿轮、轴承、离合器等部件高速运转时会产生摩擦热量,需通过润滑系统进行润滑和冷却,润滑系统通常采用压力循环润滑:油泵从油箱吸油,经滤清器过滤后,通过油道将润滑油输送至各运动部件摩擦表面,带走热量并减少磨损,润滑油返回油箱前需经过冷却器降温,确保润滑效果,润滑系统的油压、油温需通过传感器实时监测,异常时发出报警。

船舶齿轮箱的关键功能与性能要求
关键功能
- 减速增扭:匹配发动机与螺旋桨的转速扭矩需求,提高推进效率。
- 离合与换向:实现动力的接通、切断及船舶前进、后退功能。
- 承受冲击载荷:船舶航行中可能受到波浪、主机突变等冲击载荷,齿轮箱需具备足够的强度和韧性。
- 高效传动:减少传动过程中的能量损失,通常要求传动效率不低于95%。
性能要求
- 可靠性:船舶长时间航行对齿轮箱的可靠性要求极高,需具备高寿命、低故障率。
- 密封性:防止海水、杂质进入,避免润滑油泄漏。
- 可维护性:结构设计需便于日常检查、维修和零部件更换。
船舶齿轮箱的类型与应用场景
根据传动结构和用途,船舶齿轮箱可分为多种类型,常见如下:
| 类型 | 结构特点 | 应用场景 |
|---|---|---|
| 定轴齿轮箱 | 采用固定轴齿轮传动,结构简单 | 中小型船舶、辅助动力系统 |
| 行星齿轮箱 | 行星齿轮与太阳轮、齿圈啮合,体积小 | 大型船舶、高速船舶、舰艇 |
| 分动齿轮箱 | 可实现多输出动力分配 | 工程船舶、需要多设备驱动的船舶 |
| 可调桨齿轮箱 | 与可调桨配合,实现无级调速 | 港口作业船、科考船等需要精确控制的船舶 |
船舶齿轮箱的维护与管理
为确保齿轮箱正常运行,需定期进行维护:
- 检查润滑油:定期检测油品粘度、酸值、水分等指标,按周期更换润滑油。
- 紧固与调整:检查紧固件是否松动,离合器间隙、齿轮啮合间隙是否正常。
- 清洁与散热:保持散热器清洁,确保冷却效果;防止油路堵塞。
- 故障诊断:通过振动监测、油液分析等方法,提前发现齿轮、轴承等部件的潜在故障。
相关问答FAQs
Q1: 船舶齿轮箱出现异响的可能原因及解决方法?
A: 异响通常由齿轮磨损、轴承损坏、润滑不良或装配误差引起,解决方法包括:检查齿轮啮合痕迹,更换磨损齿轮;更换损坏轴承;补充或更换符合标准的润滑油;重新调整装配间隙,确保各部件对中。
Q2: 如何判断船舶齿轮箱的润滑油需要更换?
A: 判断依据包括:油品颜色变深、出现杂质或沉淀;粘度变化超过±10%;酸值超过标准值(如新油酸值≤0.1mgKOH/g,使用中超过0.3mgKOH/g);水分含量超过0.5%,若油液监测发现金属颗粒含量异常,也需立即更换润滑油并检查内部部件。

